Dr. Arturo Alanis Ibarra
Dr. Arturo Jesús Alanis Núñez
Dra. Debanhy Lissette Gamez Delgado
Dr. Victor Eduardo Caballero Bazaldua
Dr. Leo Ivan Cervantes Verdugo
Introducción
![]() |
|
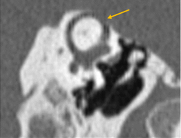
Figura 1. Foco otoesclerótico |
La otosclerosis es una enfermedad que afecta la cápsula ótica, caracterizada por una remodelación ósea anormal. Este proceso de remodelación, que ocurre de manera natural en todos los huesos del cuerpo, implica un delicado equilibrio entre la resorción ósea mediada por los osteoclastos y la formación ósea realizada por los osteoblastos. En la otosclerosis, esta alteración a menudo resulta en una fijación parcial del estribo, particularmente en la porción anterior de la ventana oval, específicamente en la fissula antefenestran (ver Fig. 1).
Epidemiología
La prevalencia de la otosclerosis es mayor en la población caucásica, donde se estima que entre el 1% y el 2% de los individuos puede presentar síntomas. Estudios realizados en hueso temporal han evidenciado cambios histológicos asociados a la otosclerosis en hasta el 10% de los casos, de los cuales solamente entre el 12% y el 20% desarrollan manifestaciones clínicas. La incidencia de esta patología es inferior en pacientes asiáticos y es aún más rara en la población de ascendencia africana.
Un estudio realizado en Estados Unidos reportó una prevalencia general de 20 casos de otosclerosis por cada 100,000 pacientes en el sistema de salud. En este análisis, la mayoría de los casos correspondían a pacientes hispanos, seguidos por pacientes caucásicos y, en menor medida, por afroamericanos. A pesar de que la prevalencia de cambios histológicos en pacientes japoneses es comparable a la observada en individuos caucásicos, los focos otoscleróticos en esta población tienden a ser menos extensos, afectando de manera reducida la región anterior a la ventana oval y presentando baja actividad. La otosclerosis es poco común en la población infantil, con una incidencia del 0.6% en menores de 5 años y del 4% en individuos entre 5 y 18 años. Se cree que la incidencia actual de otosclerosis es inferior a la registrada hace 50 años, esto debido a los resultados de un estudio de gran escala que analizó la incidencia de esta enfermedad en la población estadounidense entre 1950 y 2017.
Aspectos Genéticos
La otosclerosis puede presentarse en múltiples miembros de una misma familia, aunque también puede manifestarse en individuos sin antecedentes familiares de la enfermedad. En familias afectadas, la otosclerosis presenta un patrón de herencia monogénica, lo que significa que una única mutación es suficiente para la aparición de la enfermedad. En los casos esporádicos, es probable que se trate de una forma genética compleja, en la que la enfermedad esté causada por una combinación de múltiples factores genéticos y ambientales. Aproximadamente entre el 50% y el 60% de los pacientes con otosclerosis presentan antecedentes familiares positivos. En la mayoría de estas familias, el patrón de herencia observado es autosómico dominante con penetrancia incompleta.
Presentación clínica
La otosclerosis se manifiesta típicamente como una pérdida auditiva conductiva progresiva, que generalmente se presenta en la edad adulta, aunque también puede comenzar en la segunda década de la vida (Tabla 1). El tipo de hipoacusia está relacionada con la localización y la extensión de los focos otoscleróticos. Es importante destacar que las lesiones que se originan en la fissula antefenestran y que afectan el ligamento anular causan hipoacusia conductiva y por otro lado, la progresión medial al endostio coclear puede llevar a hipoacusia neurosensorial.
En un porcentaje bajo, entre el 1% al 10%, se identifica un subtipo retrofenestral de otosclerosis que afecta la cápsula ótica. Esta afectación puede conducir a la desmineralización de dicha estructura, resultando en una forma avanzada de la enfermedad.
|
Tabla 1. Presentación clínica |
|
|
Clínica típica |
Clínica atípica |
|
Adultos jóvenes |
Niños y pacientes de edad avanzada |
|
Hipoacusia conductiva |
Hipoacusia mixta o neurosensorial |
|
Bilateral |
unilateral |
|
Ausencia de reflejo estapedial |
Reflejo estapedial presente o bifásico |
|
Antecedentes familiares de otosclerosis |
Ausencia de antecedentes familiares |
El tinnitus es un síntoma variable en estos pacientes, quienes también pueden experimentar paracusia de Willis, donde la claridad de la conversación mejora en entornos ruidosos, probablemente debido a que la pérdida auditiva conductiva atenúa el ruido de fondo. Además, algunos pacientes pueden presentar síntomas vestibulares, como mareo y vértigo leve, por lo que se debe de investigar estos síntomas para descartar otras patologías asociadas. La presencia de síntomas vestibulares fue dilucida por un estudio que reportó una reducción en la densidad media de las células ciliadas tipo I en el sáculo de pacientes con otosclerosis, aunque esta asociación fue significativa únicamente en aquellos con afectación endóstica. Además, en un estudio del hueso temporal, por un intento de explicar los síntomas vestibulares asociados, se ha planteado la hipótesis de que los focos otoscleróticos pueden liberar metabolitos tóxicos en los fluidos del oído interno, lo que podría dañar el neuroepitelio.77 Se ha observado la presencia de hidropesía endolinfática en algunos pacientes, lo que también puede explicar la aparición de estos síntomas. Esta condición se produce cuando la otosclerosis afecta al ligamento espiral, provocando alteraciones en la homeostasis iónica intracoclear y causando obstrucción del conducto y el saco endolinfáticos. Sin embargo, es fundamental descartar la enfermedad de Ménière como posible diagnóstico.
Evaluación Física y Audiológica
![]() |
|
Figura 2. Signo de Schwartze |
A la exploración física, dado que la patología se localiza en la parte interna del oído medio, la otoscopia generalmente se reporta como normal. Sin embargo, en ocasiones puede observarse el signo de Schwartze, que consiste en una hiperemia visible a través del tímpano a nivel del promontorio, atribuida a un aumento de los vasos submucosos en esta área debido a la actividad otosclerótica que se presenta en la etapa activa de la otosclerosis. Este signo es raro, pero se ha documentado en la literatura en hasta el 10% de los pacientes con otosclerosis. En el 2012 fue reportada por Goddard y Fayad una imagen donde se observa el signo de Schwartze (Fig.2)
Para una evaluación diagnóstica precisa, es esencial realizar una audiometría en todos los pacientes (Fig. 3). Además, se recomienda realizar pruebas con diapasones de 256 Hz y 512 Hz.
![]() |
|
Figura 3. Audiometría clásica de la otosclerosis. Hipoacusia conductiva, signo de cahart (Der) e Hipoacusia Mixta (Izq) |
En la prueba de Weber, el sonido se percibe en el oído con hipoacusia conductiva o en el oído con mayor pérdida auditiva, especialmente si existe una diferencia de 15 dB entre ambos oídos. La prueba de Rinne, por su parte, suele ser negativa, lo que sugiere una pérdida auditiva conductiva. El diapasón de 256 Hz es sensible si existe un gap de 10-15 dB entre la vía ósea y la vía aérea, en cambio con el diapasón de 512 Hz lo es con un gap de 20-25 dB.
La otosclerosis avanzada, la cual inicialmente se definió como aquella en la que se presenta un umbral auditivo de 85 dB, con conducción ósea no medible. Recientemente, esta definición se basa principalmente en la disminución de la discriminación en la palabra, la cual se encuentra significativamente reducida.
En la audiometría, se observará una hipoacusia conductiva con el signo de Cahart, que se manifiesta como una caída en la vía ósea a la frecuencia de 2000 Hertz con mayor afectación en los tonos graves(Fig. 4). La timpanometría puede mostrar curva tipo A o As de Jerger, y se puede encontrar un reflejo estapedial ausente. En algunos casos, también puede existir hipoacusia mixta o neurosensorial.
Buscando al candidato para cirugía
Edad
La cirugía del estribo es una opción de tratamiento segura para niños con otosclerosis, mostrando resultados auditivos positivos. Aunque la literatura no ha establecido una edad mínima para este procedimiento, se ha observado una ganancia auditiva significativa en pacientes pediátricos.
Es importante reconsiderar la cirugía en ciertas profesiones, como son los chefs y/o sumilleres de vino u otras bebidas, ya que estos pacientes deben ser advertidos sobre la posibilidad de experimentar trastornos transitorios o permanentes del gusto hasta un año posterior a la intervención, debido a la manipulación del nervio cuerda del tímpano.
Además, se deben considerar métodos alternativos de rehabilitación auditiva, como el uso de dispositivos de amplificación de sonido. Si el paciente aún desea la cirugía, es crucial proporcionar información específica sobre el riesgo de pérdida de función laboral después del procedimiento.
En el caso del personal de aviación, como pilotos, copilotos y aeromozas, aunque no existe evidencia clara en la literatura sobre complicaciones tras una estapedectomía o estapedotomía, se debe informar sobre la posible afectación vestibular y la probabilidad de pérdida de función laboral.
El buceo puede implicar un mayor riesgo de fístula perilinfática y desplazamiento de prótesis debido a los cambios en la presión barométrica. Sin embargo, no hay evidencia sólida en la literatura que respalde esta teoría. Los estudios disponibles no han mostrado un incremento en el riesgo de lesiones en el laberinto o la cóclea asociado con la práctica del buceo.
En un estudio específico de 22 pacientes que reanudaron el buceo tras una estapedectomía, se reportaron síntomas otológicos en 4 de ellos, incluyendo tres casos de otalgia, un paciente con tinnitus permanente y otro con vértigo transitorio. Adicionalmente, un paciente experimentó pérdida auditiva neurosensorial repentina y vértigo tres meses después de bucear.
Una encuesta realizada a cirujanos que realizan estapedectomía o estapedotomía sugieren la restricción permanente del buceo. Esto podría estar relacionado con un estudio en el que 22 pacientes que reanudaron el buceo después de una estapedectomía, 4 de ellos presentaron síntomas otológicos, incluyendo tres casos de otalgia, un paciente con tinnitus permanente y otro con vértigo transitorio. Además, un paciente desarrolló pérdida auditiva neurosensorial repentina y vértigo tres meses después de retomar esta actividad.
Tomografia
La evaluación mediante tomografía es fundamental para identificar los focos otoscleróticos, principalmente en la ventana oval a nivel de la fissula antefenestran, la cual es un surco que se localiza entre la ventana oval y el proceso cocleariforme. En la fase otospongiótica o activa de la otosclerosis, se pueden observar áreas hipodensas en el hueso, mientras que en la fase inactiva otosclerótica, se observara hueso compacto que puede afectar progresivamente la platina del estribo, provocando la fijación de este.
El grosor normal de la ventana oval se establece en 1.64 mm; valores superiores a 3 mm son considerados compatibles con otosclerosis. En un bajo porcentaje, alrededor del 10%, se presenta un subtipo retrofenestral, que afecta la cápsula ótica y puede resultar en desmineralización, lo que se clasifica como "otosclerosis muy avanzada", según lo definido por House y Sheehy.93 A continuación, se detallan las diferentes clasificaciones relacionadas con esta patología (Tabla 2 y 3).
|
Tabla 2. Clasificación de Rotteveel |
|
|
Ubicación de los focos |
|
|
Tipo 1 |
Solo fenestración (placa base engrosada y/o ventanas estrechas o agrandadas) |
|
Tipo 2 |
Enfermedad retrofenestral (con o sin afectación fenestral) |
|
Efecto de doble anillo (grado 2a) |
|
|
Vuelta basal estrecha (grado 2b) |
|
|
Efecto de doble anillo y giro basal estrechado (grado 2c) |
|
|
Tipo 3 |
Afectación retrofenestral grave (cápsula ótica irreconocible), con o sin afectación fenestral |
|
Tabla 3. Clasificación de Symons/Fanning. |
|
|
Ubicación de los focos |
|
|
Grado 1 |
Únicamente fenestrado |
|
Grado 2 |
Enfermedad coclear irregular (con o sin afectación fenestrada) |
|
Hacia el giro basal (grado 2a) |
|
|
Hacia el medio giro (grado 2b) |
|
|
Alrededor de los aspectos laterales de las espiras basal, media y apical (grado 2c) |
|
|
Grado 3 |
Afectación coclear confluente difusa (con o sin afectación fenestrada) |
Las clasificaciones de la otosclerosis ofrecen ciertas ventajas; sin embargo, en ocasiones resulta complicado encasillarlas en un grado específico. Se podría definir la otosclerosis como fenestral, retrofenestral, coclear y "muy avanzada", especialmente en los casos que requieren la aplicación de un implante coclear (IC).
La resonancia magnética se recomienda débilmente en pacientes con otosclerosis y pérdida auditiva conductiva (recomendación fuerte – evidencia de calidad moderada). En pacientes candidatos para un IC, se aconseja realizar una resonancia magnética del hueso temporal para evaluar la permeabilidad de la cóclea.
Diversos estudios sugieren la implementación de un checklist para los hallazgos en estudios de tomografía (Tabla 4), lo cual permite identificar y reconocer aspectos relevantes, con el objetivo de evitar complicaciones o incidencias durante el procedimiento quirúrgico. Además, es fundamental para la indicación de una estapedectomía o estapedotomía, y ayuda en la toma de decisiones sobre alternativas de habilitación auditiva en pacientes con otosclerosis.
|
Tabla 4. Check list de la tomografía computada en el paciente con Otosclerosis. |
|
Tamaño del nicho de la ventana oval: Valores de 1,4 mm se toma como límite inferior de la normalidad. Valores menores se asociaban con un riesgo mayor de tener dificultades técnicas durante la cirugía del estribo. Debe descartarse una otosclerosis obliterativa (Fig. 4-5). |
|
Relación del nervio facial con la ventana oval: El prolapso y la dehiscencia del nervio facial son la segunda causa de disminución del calibre del nicho de la ventana oval. Un nervio facial dehiscente puede dificultar o incluso impedir la realización de una estapedectomía o estapedotomía |
|
Estado de la ventana redonda: Su afectación se asocia a un mayor riesgo de hipoacusia neurosensorial posquirúrgica. Su obliteración, aunque es rara, puede objetivarse preoperatoriamente y podría contraindicar el tratamiento quirúrgico. |
|
Estado cápsula ótica y del conducto auditivo interno: Su afectación extensa se relaciona con un mayor riesgo de hipoacusia neurosensorial. Osificación laberíntica. |
|
Dehiscencia del conducto semicircular superior, alteraciones congénitas de la cóclea. |
|
Patología inflamatoria crónica del oído medio, integridad de la cadena osicular |
|
Acueducto vestibular dilatado, acueducto coclear ensanchado |
|
Fijación del yunque y/o de la cabeza del martillo 0.6-6% (Maleoestapedotomía) |
|
Arteria estapedial persistente |
|
Golfo de la yugular prominente |
![]() |
![]() |
|
Figura 4. Vista de la ventana oval en un corte coronal del oído medio |
Figura 5. Ventana oval obliterativa de oído derecho en un corte coronal de oído medio |
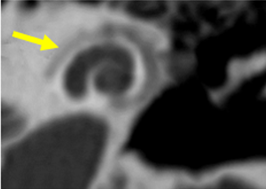
El estado de la ventana redonda es importante, ya que su afectación se asocia a un mayor riesgo de hipoacusia neurosensorial posquirúrgica. La obliteración de la ventana redonda, aunque no se frecuente, puede diagnósticarse preoperatoramiente y podría contraindicar el tratamiento quirúrgico (Fig.6).
![]() |
|
Figura 6. Oídos derechos con obliteración de ventana redonda (flecha amarilla) |
![]() |
|
Figura 7. Reconstrucción de trayecto del nervio facial de un oído derecho: Segmento mastoideo (M), Timpánico (T), Intralaberintico (IL) |
Relación del nervio facial con la ventana oval.
El prolapso y la dehiscencia del nervio facial son la segunda causa de disminución del calibre del nicho de la ventana oval. Un nervio facial dehiscente puede dificultar o incluso impedir la realización de una estapedectomía o de una estapedectomía o estapedotomía (Fig. 7).
Acueducto vestibular (AV) y acueducto coclear (AC).
Se debe identificar la permeabilidad y dilatación. Se considera dilatación del AV cuando tiene un diámetro superior a 1,5 mm en el punto medio de su trayecto o mayor a 2mm en el opérculo. Así mismo se debe de valorar la permeabilidad y dilatación del AC, teniendo en cuenta que su diámetro habitual es de alrededor de medio milímetro en su apertura interna y de casi 3 mm en la apertura externa, su longitud es de unos 12 mm. Esta estructura tiene menor relevancia clínica que el AV. Sin embargo, ambos se han relacionado, aunque sin una evidencia fuerte, que pueden predisponer a presentar en la cirugía de estapedectomía o estapedotomía una salida abrupta de líquido cefalorraquídeo junto con líquido perilinfático conocido como Gusher o un Oozer y estos pueden conllevar a una hipoacusia neurosensorial postoperatoria (Fig. 8).
![]() |
|
Figura 8. Acueducto coclear (AC) y Acueducto vestibular (AV) |
Dehiscencia del canal semicircular superior
Es debido a un defecto óseo del techo del conducto semicircular superior (CES), que crea una comunicación con la fosa craneal media y la duramadre. Puede producir un síndrome de tercera ventana del laberinto óseo, el cual se asocia con signos vestibulares como vértigo o mareo al exponerse a sonidos fuertes, también llamado fenómeno de Tullio. Además puede producir hipoacusia mixta con reflejo estapedial conservado. En ocasiones puede asociarse a otosclerosis (Fig. 9).
![]() |
|
Figura 9. Dehiscencia de canal semicircular superior. Reconstrucción de Poshi (Izquierda) y Reconstrucción de Stenver (Derecha) |
Arteria estapedial persistente
![]() |
|
Figura 10. Arteria estapedial pesistente |
La arteria estapedial persistente (ASP) es un vaso pequeño anormal que surge de la porción petrosa de la arteria carótida interna y atraviesa el oído medio. Es el resultado de la falla de la regresión de la arteria estapedial embrionaria. La prevalencia varía entre el 0,02 y el 0,48% en la población general (Fig. 10-12).
Los mayoría de los pacientes con ASP son asintomáticos, pero pueden presentar los siguientes síntomas:
- tinnitus pulsátil
- Pérdida auditiva conductiva debido a la anquilosis del estribo.
- Pérdida auditiva neurosensorial debida a una erosión de la cápsula ótica (poco frecuente)
El hallazgo incidental durante la cirugía puede resultar en hemorragias si no se identifica y maneja adecuadamente. Además, este hallazgo puede ser motivo para interrumpir el procedimiento quirúrgico.
![]() |
![]() |
|
Figura 11. Arteria estapedial (flecha amarilla) y porción petrosa de carótida (líneas rojas) |
Figura 12. Arteria estapedial persistente |
Fijación del yunque y/o cabeza del martillo.
Presente en el 0,6 al 6% de los pacientes. Cuando se presenta, se realiza una resección de la cabeza y se aplica una prótesis que va desde el mango del martillo a la platina, lo que se le conoce como maleoestapedectomía (Fig.12-13).
![]() |
![]() |
|
Figura 13. Maleoestapedotomía |
Figura 14. |
![]() |
|
Figura 15. Otosclerosis avanzada. Signo del doble anillo. |
Tratamiento y habilitación auditiva
Se han utilizado diversas terapias farmacológicas para el tratamiento de la otosclerosis, entre ellas el fluoruro de sodio, el cual ha sido empleado durante décadas. Sin embargo, existe una falta de estudios bien diseñados que respalden su uso (evidencia insuficiente).
El uso de bifosfonatos ha demostrado una mejoría radiológica en los controles, pero solo una leve mejoría clínica en los pacientes sin una evidencia clara que la avalen.
Para aquellos pacientes que no desean o cuentan con alguna contraindicación para someterse a cirugía, el uso de audífonos o amplificadores auditivos está indicado. Sin embargo, estos dispositivos pueden generar una sensación de oído tapado o incomodidad, a la cual el paciente debe adaptarse.
La cirugía del estribo para el tratamiento de la Otosclerosis
Prácticamente se refiere a la estapedectomía, la cual consiste en la extirpación total o parcial del estribo y su reemplazo por una prótesis, con el objetivo de mejorar la movilidad de la cadena osicular. Por otro lado, la estapedotomía consiste en retirar la supraestructura del estribo, conservando la platina, a la que se le realiza una fenestración guiada y medida con la inserción de una prótesis. Esta última, es el procedimiento que se realiza con mayor frecuencia en la actualidad, ya que se asocia con una menor incidencia de vértigo postoperatorio en comparación con la estapedectomía.
Las indicaciones y consideraciones para la cirugía del estribo son las siguientes:
- El paciente debe estar sano para soportar el procedimiento, en particular si se está considerando la anestesia general.
- El oído con peor audición debe ser operado primero. Esto debe basarse en la declaración del paciente y no en los datos audiométricos.
- La operación en el oído opuesto puede realizarse seis meses después, siempre que este oído sea ahora el que tiene peor audición.
- Diagnóstico confirmado de otosclerosis.
- Pérdida auditiva conductiva de 25 dB o más en las frecuencias de 250 y 1000 Hz con una prueba de Rinne negativa a 512 Hz. Una prueba de Rinne negativa a 1024 Hz muestra una CHL aún mayor, lo que convierte al paciente en un gran candidato para la cirugía del estribo.
- Una pérdida auditiva mixta que requeriría una reducción de la CHL para que el auxiliar auditivo sea útil).
Contraindicaciones para la cirugía del estribo.
- Oído con evidencia de otosclerosis, oído contralateral con sordera profunda
- Infección activa del oído externo y/o medio
- Perforación de la membrana timpánica
- Enfermedad de Meniere activa
- Condición clínica desfavorable
- Condición ocupacional o recreativa que requiere una función vestibular intacta
- Arteria estapedial persistente
Técnica quirúrgica
Abordaje quirúrgico
El abordaje de la cirugía del estribo puede realizarse de diferentes maneras, siendo dos de las técnicas más comunes el abordaje trascanal clásico y el abordaje endoaural, este último mejora la exposición quirúrgica.
Apoyo Visual
Para optimizar la visualización durante el procedimiento, se recomienda el uso de dispositivos ópticos como el microscopio quirúrgico o el endoscopio, el cual se prefiere utilizar el de 3 mm con angulación de 30 grados o 0 grados.
Técnica Clásica
La técnica clásica de estapedectomía consiste en una vez visualizado el estribo, el yunque, la apófisis piramidal, la ventana oval y redonda; cortar el tendón del estribo, retirar la superestructura del estribo, realizar la fenestración y, finalmente, colocar la prótesis.
Ugo Fisch propuso invertir el orden de estos pasos con el objetivo de reducir el riesgo de platina flotante y la dislocación de la cadena osicular. En su técnica, se comienza por realizar la fenestración y colocar la prótesis, mientras la articulación incudoestapedial y el tendón del estribo permanecen intactos. Posteriormente, se asegura la prótesis, separando el estribo del proceso lenticular del yunque, se fracturan las cruras del estribo, se corta el tendón del estribo y se retira la superestructura.
La inversión de los pasos quirúrgicos tiene la ventaja de reducir el tiempo de exposición del vestíbulo, minimizando la entrada de sangre a este mismo, lo que disminuye la necesidad de manipulación y reduce el riesgo de lesión del oído interno. Además, la técnica de estapedotomía con pasos inversos propuesta por Fisch aporta una mayor estabilidad de la cadena osicular, facilitando la colocación del pistón en el proceso largo del yunque.
No todos los casos de otosclerosis se benefician de la técnica inversa. La estapedotomía con pasos inversos, propuesta por Fisch, está particularmente indicada en casos donde la porción visible de la platina presenta un color azul en todos sus puntos, conocida como "otosclerosis azul". En esta condición, la platina está firmemente adherida al borde de la ventana oval. En este caso, la idea original de Fisch ayuda a evitar complicaciones relacionadas con el yunque y la platina.
Por otro lado, cuando la porción visible de la platina, antes de la remoción de la superestructura del estribo, presenta un color blanco en la mayoría o en todos sus puntos visibles, condición conocida como "otosclerosis blanca"; la técnica inversa de Fisch no es recomendable. En esta forma de otosclerosis, la platina está bien soldada al ligamento anular debido al foco otosclerótico que afecta gran parte de la platina, tornándola blanca, frágil y menos resistente al trauma, lo que aumenta el riesgo de luxación o subluxación del yunque y de la platina flotante. Realizar solo la fenestración (Estapedotomía) sin quitar toda la platina da mejor resultados que extrayendo toda la platina (Estapedectomía), ya que se genera menos trauma y se reduce el riesgo de formación de fístula perilinfática. Cuando se realiza la fenestra, se recomienda hacerlo en el centro de la platina, aunque también puede hacerse de forma ligeramente inferior o posterior (Fig. 16).
![]() |
|
Figura 15. |
Complicaciones en la Estapedotomía y Estapedectomía (Tabla 5):
|
Tabla 5. Complicaciones en la Estapedotomía. y Estapedectomía |
|
|
Intraoperatorio |
Postoperatorio |
|
Perforación de la membrana timpánica |
Necrosis del proceso largo del yunque |
|
Lesión de la cuerda del tímpano |
Disgeusia |
|
Neumolaberinto |
Laberintitis |
|
Lesión del nervio facial |
Parálisis facial periférica |
|
sangrado |
Hipoacusia NS moderada profunda |
|
Salida de perilinfa y/o LCR |
Vértigo |
|
Platina flotante |
Pérdida auditiva conductiva |
|
Luxación del yunque |
|
Tipo de prótesis
El acero inoxidable es uno de los materiales más utilizados en prótesis de estribo debido a su rigidez, su capacidad para mantener su forma y su facilidad de fijarse de manera adecuada al yunque o al martillo. Además, presenta una maleabilidad que facilita su manipulación quirúrgica. Otros materiales utilizados para prótesis incluyen el cromo, carbono, níquel y manganeso.
Las prótesis de platino pueden exponerse de forma segura a campos magnéticos de hasta 1,5 Tesla. Por su parte, el titanio es un material ideal para la conducción de vibraciones debido a su ligereza y rigidez. Una ventaja adicional es que, tras su oxidación, forma una capa protectora de óxido de titanio sobre su superficie, lo que aumenta su biocompatibilidad. Las prótesis de titanio pueden exponerse de forma segura a campos magnéticos de hasta 3,0 Tesla.
Otra opción son las prótesis de nitinol (aleaciones de titanio y níquel), las cuales tienen la propiedad de recuperar su forma original al calentarse. Las principales complicaciones asociadas con este tipo de prótesis incluyen el desplazamiento dentro del vestíbulo y una fijación insuficiente al proceso largo del yunque. Estos problemas pueden resolverse mediante un ajuste adicional para asegurar una adhesión adecuada. En caso de fijación insuficiente, siempre que la prótesis no se disloque, las reacciones fibrosas locales pueden ser suficientes para fijarla y lograr buenos resultados audiológicos. Las prótesis de nitinol son seguras en campos magnéticos de hasta 1,5 Tesla. El teflón consiste en un polímero con un bajo coeficiente de fricción, químicamente estable, maleable y resistente a la corrosión, el cual es seguro para la resonancia magnética.
No se ha demostrado que ningún material sea superior a otro en lo que respecta a los resultados auditivos.
En cuanto a los implantes de transmisión ósea anclados quirúrgicamente, estos pueden clasificarse en dos tipos: percutáneos y transcutáneos. En los implantes percutáneos, el estímulo se produce a través de un pilar que penetra la piel acoplada a un procesador de sonido. Por otro lado, los implantes transcutáneos transmiten el sonido a través de la piel intacta, pero pueden funcionar de forma activa o pasiva. Los transcutáneos activos consisten en un implante colocado debajo de la piel y los músculos del hueso temporal, el cual se comunica con el procesador de sonido externo de forma inalámbrica a través de radiofrecuencia. Los transcutáneos pasivos utilizan una placa de titanio implantada en el hueso temporal y el procesador se acopla a un imán que transmite el sonido a través de la piel intacta.
Los pacientes con trastornos que obstruyen el conducto auditivo externo (CAE), como malformaciones congénitas, estenosis adquirida o tumores benignos, se benefician particularmente del uso de dispositivos auditivos de transmisión ósea (BAHD), ya que suelen tener una gran brecha aérea-ósea (ABG) asociada con una función coclear normal.
Dado que el funcionamiento de los implantes óseos se basa exclusivamente en la conducción ósea, estos dispositivos han sido considerados en algunos casos de otosclerosis. Sin embargo, no son la mejor opción debido al riesgo de deterioro progresivo de la reserva coclear con el paso del tiempo. Otro factor a considerar es la ganancia auditiva máxima que pueden ofrecer, ya que la conducción ósea depende del modelo del implante. En casos de hipoacusia asimétrica, se recomienda colocarlos en el oído con mejor conducción ósea.
Estos implantes proporcionan una ganancia funcional significativa, con una mejora en el reconocimiento del habla más que los audífonos convencionales, y sin causar los efectos secundarios comunes, como la oclusión o la retroalimentación, que se presentan en la mayoría de los pacientes.
Los implantes de oído medio activos están ampliamente indicados para diferentes tipos de pérdida auditiva, incluyendo la hipoacusia neurosensorial, conductiva o mixta. Se pueden utilizar en pacientes con malformaciones del oído medio o externo, así como en casos de otosclerosis avanzada. Dependiendo de la ubicación de la fuente de alimentación y del micrófono, estos dispositivos pueden ser total o parcialmente implantables.
Los Implantes de oído medio activos amplifican la audición mediante la vibración mecánica de los huesecillos a los que están fijados quirúrgicamente. Estos dispositivos requieren movimientos de la cadena osicular, que suelen estar limitados en pacientes con otosclerosis. Pueden estar indicados en combinación con Estapedotomía en casos de pérdida auditiva mixta de moderada a severa o en pacientes sometidos previamente a cirugía del estribo que han desarrollado pérdida auditiva neurosensorial.
Indicaciones para implante coclear
En pacientes con otosclerosis avanzada, los criterios para la colocación de un implante coclear (IC) son similares a los de pacientes con otras causas de sordera profunda. Estos incluyen: (1) Un índice de inteligibilidad del habla ≤60% para el reconocimiento del habla en ambiente abierto, utilizando prótesis auditivas en el mejor oído, y ≤50% en el oído a implantar; (2) Adecuación psicológica y motivación para el uso del implante coclear, su mantenimiento/cuidado y el compromiso con el proceso de rehabilitación auditiva y del habla; (3) Disponibilidad de condiciones adecuadas para la rehabilitación en la ciudad de residencia del paciente (derivación-contraderivación); (4) Compromiso del paciente con el cuidado de los componentes externos del implante coclear y la asistencia a las sesiones de rehabilitación del habla (Recomendación fuerte – Evidencia de alta calidad).
Los pacientes con otosclerosis avanzada tienen un mayor riesgo de osificación de la membrana de la ventana redonda y del giro basal de la cóclea. Por este motivo, se recomienda de manera obligatoria la realización de una resonancia magnética preoperatoria para prevenir complicaciones durante la inserción del conjunto de electrodos (Recomendación fuerte – Evidencia de calidad moderada).
El uso de electrodos perimodiolares se asocia con un menor riesgo de estimulación del nervio facial en comparación con los electrodos de pared lateral.
Conclusiones para la habilitación auditiva en pacientes con otosclerosis
Para mejorar su audición, el paciente podrá optar entre utilizar audífonos o cirugía. Ninguno curará la enfermedad ni prevendrá el empeoramiento de la pérdida auditiva, pero si solucionará la hipoacusia durante años.
Se recomienda la cirugía del estribo en pacientes con pérdida auditiva conductiva con umbrales medios de tonos puros ≥25 dB a 250 Hz, 500 Hz, 1000 Hz y 2000 Hz y un Gap ≥20 dB . Siendo la más recomendable la Estapedotomía, el uso de endoscopio y microscopio es a preferencia del cirujano así como las prótesis de cualquier material ya que no existen estudios suficientes para justificar la recomendación absoluta de un tipo, porque audiométricamente el resultado es similar de la misma forma el uso de taladro manual vs automático como el uso de láser, ofrece mejor resultados auditivo
La cirugía de revisión no está indicada para la pérdida auditiva neurosensorial.
Entre las opciones de tratamiento no quirúrgico, los dispositivos auditivos ofrecen el mejor resultado.
El tratamiento farmacológico no ha mostrado resultados satisfactorios.
Antes de indicar un sistema de anclaje óseo o aditamentos activos del oído medio en pacientes con otosclerosis, se deben probar los auxiliares auditivos convencionales. Se recomiendan en pacientes con un Gap > 30 dB, con pérdida auditiva conductiva y oído contralateral con sordera.
Las indicaciones para implante coclear en pacientes con otosclerosis avanzada son las mismas que en pacientes con otras causas de sordera profunda. (1) Índice de inteligibilidad del habla ≤60%.
Bibliografia
1.-AM Quesnel , R. Ishai , MJ McKenna Otosclerosis: patología del hueso temporal Otolaryngol Clin North Am. , 51 ( 2018 ) , págs . 291-303
2,.MF Foster , DD Backous Evaluación clínica del paciente con otosclerosis Otolaryngol Clin North Am. , 51 ( 2018 ) , págs . 319-326
3.-Vagner Antonio Rodrigues Silva, Henrique Furlan Pauna, Joel Lavinsky, Guilherme Corrêa Guimarães, Nicolau Moreira Abrahão, Eduardo Tanaka Massuda, Melissa Ferreira Vianna, Cláudio Márcio Yudi Ikino, , AND COLS. Brazilian Society of Otology task force – Otosclerosis: evaluation and treatment, Brazilian Journal of Otorhinolaryngology,Volume 89, Issue 5,2023,ISSN 1808-8694,
https://doi.org/10.1016/j.bjorl.2023.101303
4.-JS Choi , AD Sweeney , I. Alava , BD Lovin , NR Lindquist , EN Appelbaum , et al. Otosclerosis en una población urbana Otol Neurotol. , 42 ( 2021 ) , págs. 24 - 29
5.- WH Lippy , LP Berenholz .-Perlas sobre la otosclerosis y la estapedectomía Oído, Nariz, Garganta J. , 87 ( 2008 ) , págs. 326 – 328 C. Parra, S. trunet, B. granger et al. Imaging criteria to predict surgical difficulties duringstapes surgery. otology & neurotology 2017; 38(6) 815-821.
6.-N. Sanghan , T. Chansakul , ED Kozin , AF Juliano , HD Curtin , KL Reinshagen Revisión retrospectiva del contorno y el grosor de la cápsula ótica en pacientes con otosclerosis e individuos con audición normal en la TC AJNR Am J Neuroradiol. , 39 ( 2018 ) , págs. 2350 – 2355
7,-Gredilla Molinero, J., Mancheño Losa, M., Santamaría Guinea, N., Arévalo Galeano, N., & Grande Bárez, M. (2016). Actualización en el diagnóstico radiológico de la otosclerosis. Radiología, 58(4), 246–256. doi:10.1016/j.rx.2016.04.008
8.-Wegner, I., Kamalski, D. M. A., Tange, R. A., Vincent, R., Stegeman, I., van der Heijden, G. J. M., & Grolman, W. (2014). Laser versus conventional fenestration in stapedotomy for otosclerosis: A systematic review. The Laryngoscope, 124(7), 1687–1693. doi:10.1002/lary.24514
9.-Srivastava R, Cho W, Fergie N. The Use of Lasers in Stapes Surgery. Ear, Nose & Throat Journal. 2021;100(1_suppl):73S-76S. doi:10.1177/0145561320937828
10,- Ordóñez Ordóñez LE, Cerón Perdomo D, González Saboya CP, Osorio Mejía F, Medina-Parra J, Angulo Martínez ES. Conventional vs. diode laser stapedotomy: audiological outcomes and clinical safety. Eur Arch Otorhinolaryngol. 2024 Jul;281(7):3443-3452. doi: 10.1007/s00405-023-08429-4. Epub 2024 Jan 14. PMID: 38219247; PMCID: PMC11211175.
11.-Re M, Giannoni M, Scarpa A, et al. Cerebrospinal Fluid Leak During Stapes Surgery: The Importance of Temporal Bone CT Reconstructions in Oblique Anatomically OrientedPlanes. Ear, Nose & Throat Journal. 2023;102(4):227-230. doi:10.1177/0145561320984569
12.-Tsunoda A, Terasaki O. Dehiscencia del techo óseo del canal semicircular superior en la fosa craneal media. The Journal of Laryngology & Otology. 2002;116(7):514-518. doi:10.1258/002221502760132377
14,-John C. Goddard MD, jose Fayad M.D www.entjournal.com ENT-Ear, Nose & Throat Journal April 2012
15.- R. Quatre, P. Manipoud, S. Schmerber, Persistent stapedial artery in PHACE syndrome,European Annals of Otorhinolaryngology, Head and Neck Diseases, Volume 136, Issue 3,2019,
16.-CA denBesten , P. Monksfield , A. Bosman , PH Skarzynski , K. Green , C. Runge , et al.
17,.Resultados audiológicos y clínicos de un implante auditivo de conducción ósea transcutáneo: resultados a seis meses de un estudio multicéntricoClin Otolaryngol. , 44 ( 2019 ) , págs . 144-157
18,-SN Ghossaini , PC Roehm Dispositivos auditivos osteointegrados: audífono anclado al hueso y PONTO Otolaryngol Clin North Am. , 52 ( 2019 ) , págs . 243-251
19.- Karl R. Khandalavala, Jim R. Dornhoffer, John I. Lane, Matthew L. Carlson, Estapedotomía versus implantación coclear para otosclerosis muy avanzada:, Otología y neurotología , 10.1097/MAO.0000000000004197. (2024) .














